我的云服务器磁盘满了,清理这些…
- 心得
- 2024-09-25
- 2热度
- 0评论
我的服务器空间不够了。

磁盘空间满了,爆红了,网站直接不能访问了。
这是我不能理解的,我的几个网站加起来的数据量不会超过2G。它居然能满。
我删了回收箱,删了定期自动备份的网站代码及数据库,腾出来的空间只有2个多G。这不行啊。这还差的远那。
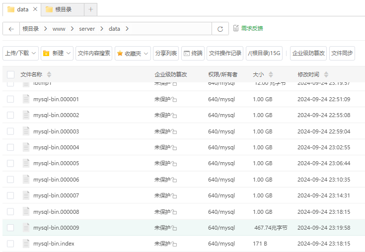
于是我从根目录开始找,发现有个文件夹特别大
/www/server/data
这里面有19个mysql-bin文件,标号从000012到000031,而且每个文件都是1个G。
我必应了一下,解释如下:
随着 MySQL 数据库的使用,/usr/local/mysql/data 目录下会生成很多 mysql-bin.XXXXXX 文件,会占用很多磁盘空间。
这些文件是用于记录 MySQL 数据库的操作行为,用于数据恢复和主从数据同步。
在机器的磁盘空间不足,而又不考虑 MySQL 历史数据恢复的情况下,是可以删除的。
于是我操作删除了这19个文件,进入网站查看是否正常访问,结果是没问题。于是清空了回收站,空间回来了。

这里说明一下,如果你需要查询用户操作、有恢复网站及数据库的需要,不要轻易删除这些文件。
具体操作如下:
一、关停你的mysql

二、删除mysql-bin.xxxxxx文件及修改mysql-bin.index文件中的对应记录

四、启动mysql
结束
2024年9月24日 晚十一点多
还没完,晚上又不能访问了,还是mysql-bin,磁盘又慢了。

我想这不正常,因为访问量真的不大。但写入特别大。

20分钟,8个G又没了。

我改了这两行,不知道是否有用,明早见。
20249月25日 早七点多
并没有再生成mysql-bin,这是一种阉割的方式,不让数据库再生产二进制日志了。这不是最妥当的方式,但对我来说最简单有效。
如果去设置日志存储机制,这个比较复杂。如果设置日志存储日期,这个快速形成数据,显然也不合适。
所以这种方式大家酌情考虑是否适合自己使用。
